Account: M5870186
April 1, 2026
| Account | Parcel | Account Type | Tax Year | Buildings | Actual Value | Local Govt Assessed Value | School Assessed Value |
|---|---|---|---|---|---|---|---|
| M5870186 | 146906102003 | Residential | 2026 | 1 | 10,986 | 690 | 770 |
| Legal |
|---|
| DAC 1GL-93 IMPS ONLY MH L93 GLENS #1 |
| Subdivision | Block | Lot | Land Economic Area |
|---|---|---|---|
| Property Address | Property City | Section | Township | Range |
|---|---|---|---|---|
| 848 GLEN BARR | DACONO | 06 | 01 | 67 |
| Account | Parcel | Account Type | Tax Year | Buildings | Actual Value | Local Govt Assessed Value | School Assessed Value |
|---|---|---|---|---|---|---|---|
| M5870186 | 146906102003 | Residential | 2026 | 1 | 10,986 | 690 | 770 |
| Account | Owner Name | Address |
|---|---|---|
| M5870186 | KENDALL CHRISTOPHER L | 848 GLEN BARR DACONO, CO 805149529 |
| Account | Parcel | Account Type | Tax Year | Buildings | Actual Value | Local Govt Assessed Value | School Assessed Value |
|---|---|---|---|---|---|---|---|
| M5870186 | 146906102003 | Residential | 2026 | 1 | 10,986 | 690 | 770 |
| Reception | Rec Date | Type | Grantor | Grantee | Doc Fee | Sale Date | Sale Price |
|---|---|---|---|---|---|---|---|
| 3964926 | 09-19-2013 | MHTLE | REED BRUCE D | KENDALL CHRISTOPHER L | 0.65 | 09-19-2013 | 6,500 |
*If the hyperlink for the reception number does not work, try a manual search in the Clerk and Recorder records. Use the Grantor or Grantee in your search.
| Account | Parcel | Account Type | Tax Year | Buildings | Actual Value | Local Govt Assessed Value | School Assessed Value |
|---|---|---|---|---|---|---|---|
| M5870186 | 146906102003 | Residential | 2026 | 1 | 10,986 | 690 | 770 |
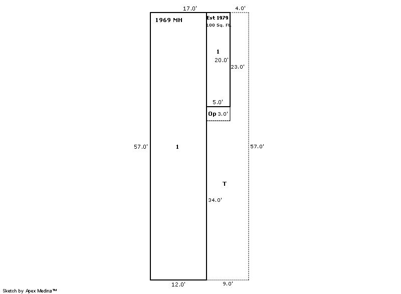
Building 1
| AccountNo | Building ID | Occupancy |
|---|---|---|
| M5870186 | 1 | Manufactured Home |
| ID | Type | NBHD | Occupancy | % Complete | Bedrooms | Baths |
|---|---|---|---|---|---|---|
| 1 | Manufactured Hm | 3D0002 | Manufactured Home | 100 | 2 | 1.00 |
| ID | Exterior | Roof Cover | Interior | HVAC | Perimeter | Units | Unit Type | Make |
|---|---|---|---|---|---|---|---|---|
| 1 | Metal Siding | Metal Ribbed | Paneling | Forced Air | 0 | 0 | NA | Bonanza |
| ID | Square Ft | Condo SF | Total Basement SF | Finished Basement SF | Garage SF | Carport SF | Balcony SF | Porch SF |
|---|---|---|---|---|---|---|---|---|
| 1 | 784 | 0 | 0 | 0 | 0 | 0 | 0 | 398 |
| ID | Built As | Square Ft | Year Built | Stories | Length | Width |
|---|---|---|---|---|---|---|
| 1.00 | Mnfctrd Home 1 Story w/ Additions | 784 | 1969 | 1 | 57 | 12 |
| ID | Detail Type | Description | Units |
|---|---|---|---|
| 1 | Add On | MH Swamp Cooler | 1.00 |
| 1 | Fixture | Full Bath | 1.00 |
| 1 | Porch | Open Slab | 398.00 |
| 1 | Porch | Slab Roof Ceil | 15.00 |
| Account | Parcel | Account Type | Tax Year | Buildings | Actual Value | Local Govt Assessed Value | School Assessed Value |
|---|---|---|---|---|---|---|---|
| M5870186 | 146906102003 | Residential | 2026 | 1 | 10,986 | 690 | 770 |
| Type | Code | Description | Actual Value | Local Govt Assessed Value | School Assessed Value | Acres | Land SqFt |
|---|---|---|---|---|---|---|---|
| Improvement | 9290M | EXEMPT ALL OTHER RESIDENTIAL | 10,986 | 690 | 770 | 0.000 | 0 |
| Totals | - | - | 10,986 | 690 | 770 | 0.000 | 0 |
Comparable sales for your Residential or Commercial property may be found using our SALES SEARCH TOOL
Values are updated annually on May 1st for Real Property and June 15th for Personal Property and Oil and Gas.
| Account | Parcel | Account Type | Tax Year | Buildings | Actual Value | Local Govt Assessed Value | School Assessed Value |
|---|---|---|---|---|---|---|---|
| M5870186 | 146906102003 | Residential | 2026 | 1 | 10,986 | 690 | 770 |
| Tax Area | District ID | District Name | Local Govt Mill Levy |
School Mill Levy |
Estimated Taxes |
|---|---|---|---|---|---|
| 2954 | 0900 | CARBON VALLEY REC | 4.427 | 0.000 | $3.05 |
| 2954 | 0402 | DACONO TOWN | 22.491 | 0.000 | $15.52 |
| 2954 | 0512 | MOUNTAIN VIEW FIRE PROTECTION DISTRICT | 16.342 | 0.000 | $11.28 |
| 2954 | 0301 | NORTHERN COLORADO WATER (NCW) | 1.000 | 0.000 | $0.69 |
| 2954 | 0213 | SCHOOL DIST RE1J-LONGMONT | 0.000 | 57.717 | $44.44 |
| 2954 | 0620 | ST VRAIN SANITATION | 0.316 | 0.000 | $0.22 |
| 2954 | 0100 | WELD COUNTY | 15.956 | 0.000 | $11.01 |
| Total | - | - | 60.532 | 57.717 | $86.21 |
The estimate of tax is based on the prior year mill levy and the 2025 projected assessment rates. Mill levies and tax estimates will be updated yearly on December 22nd for the current year. Additional information can be found at https://assessor.weld.gov



