Account: R0032092
April 1, 2026
| Account | Parcel | Account Type | Tax Year | Buildings | Actual Value | Local Govt Assessed Value | School Assessed Value |
|---|---|---|---|---|---|---|---|
| R0032092 | 106136000052 | Commercial | 2026 | 5 | 428,746 | 115,760 | 115,760 |
| Legal |
|---|
| PT E2SW4 36-4-68 LOT A REC EXEMPT RE-1331 (.68R1RR) |
| Subdivision | Block | Lot | Land Economic Area |
|---|---|---|---|
| MEAD RURAL |
| Property Address | Property City | Section | Township | Range |
|---|---|---|---|---|
| 5351 COUNTY ROAD 38 | WELD | 36 | 04 | 68 |
| Account | Parcel | Account Type | Tax Year | Buildings | Actual Value | Local Govt Assessed Value | School Assessed Value |
|---|---|---|---|---|---|---|---|
| R0032092 | 106136000052 | Commercial | 2026 | 5 | 428,746 | 115,760 | 115,760 |
| Account | Owner Name | Address |
|---|---|---|
| R0032092 | 5351 CR 38 LLC | 13727 NOEL RD # ROD SUITE 900 DALLAS, TX 752401336 |
| Account | Parcel | Account Type | Tax Year | Buildings | Actual Value | Local Govt Assessed Value | School Assessed Value |
|---|---|---|---|---|---|---|---|
| R0032092 | 106136000052 | Commercial | 2026 | 5 | 428,746 | 115,760 | 115,760 |
| Reception | Rec Date | Type | Grantor | Grantee | Doc Fee | Sale Date | Sale Price |
|---|---|---|---|---|---|---|---|
| 07-18-2005 | USR | USE BY SPECIAL REVIEW | USR-935AM LAND SCAPING SUPPLY BUS. | 0.00 | NA | 0 | |
| 2244699 | 03-22-1991 | RE | RE-1331 | RE-1331 | 0.00 | 03-22-1991 | 0 |
| 2244699 | 03-22-1991 | RE | RECORDED EXEMPTION | RE-1331 | 0.00 | NA | 0 |
| 2383918 | 04-15-1994 | WD | SEEWALD DENNIS A & CAROLYN I | AGLAND INC | 7.50 | 04-12-1994 | 75,000 |
| 3043978 | 03-24-2003 | WD | AGLAND INC | BRITTARA LAND COMPANY LLC | 20.00 | 03-17-2003 | 200,000 |
| 3338395 | 11-08-2005 | WD | BRITTARA LAND COMPANY LLC | PIONEER SAND CO INC | 31.50 | 11-04-2005 | 315,000 |
| 3987180 | 12-31-2013 | SWD | PIONEER SAND COMPANY INC | COLORADO REAL ESTATE HOLDINGS L L C | 21.50 | 12-30-2013 | 215,000 |
| 4042823 | 09-02-2014 | SWDN | COLORADO REAL ESTATE HOLDINGS L L C | 5351 CR 38 L L C | 0.00 | 08-05-2014 | 0 |
*If the hyperlink for the reception number does not work, try a manual search in the Clerk and Recorder records. Use the Grantor or Grantee in your search.
| Account | Parcel | Account Type | Tax Year | Buildings | Actual Value | Local Govt Assessed Value | School Assessed Value |
|---|---|---|---|---|---|---|---|
| R0032092 | 106136000052 | Commercial | 2026 | 5 | 428,746 | 115,760 | 115,760 |
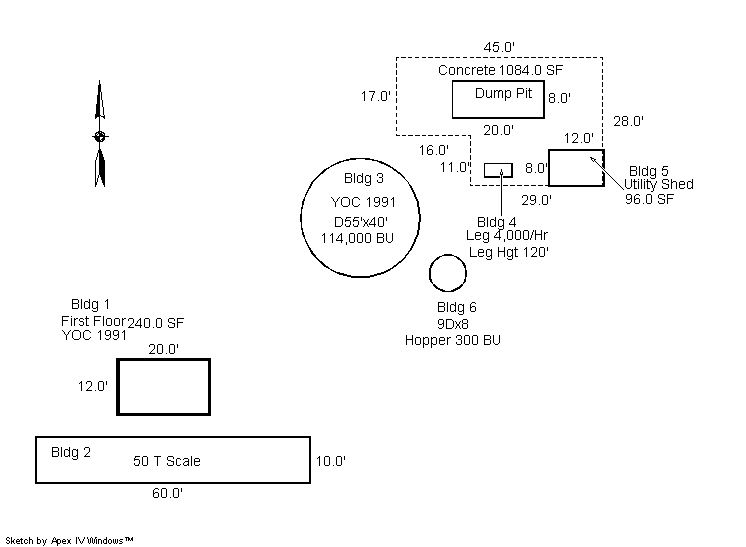
Building 1
| AccountNo | Building ID | Occupancy |
|---|---|---|
| R0032092 | 1 | Office Building |
| ID | Type | NBHD | Occupancy | % Complete | Bedrooms | Baths |
|---|---|---|---|---|---|---|
| 1 | Commercial | 3907 | Office Building | 100 | 0 | 0.00 |
| ID | Exterior | Roof Cover | Interior | HVAC | Perimeter | Units | Unit Type | Make |
|---|---|---|---|---|---|---|---|---|
| 1 | NA | NA | NA | Package Unit | 64 | 0 | NA | NA |
| ID | Square Ft | Condo SF | Total Basement SF | Finished Basement SF | Garage SF | Carport SF | Balcony SF | Porch SF |
|---|---|---|---|---|---|---|---|---|
| 1 | 240 | 0 | 0 | 0 | 0 | 0 | 0 | 0 |
| ID | Built As | Square Ft | Year Built | Stories | Length | Width |
|---|---|---|---|---|---|---|
| 1.00 | Office Building | 240 | 1991 | 1 | 0 | 0 |
| ID | Detail Type | Description | Units |
|---|---|---|---|
| 1 | Add On | Truck Scale 50 Tons | 1.00 |
Building 2
| AccountNo | Building ID | Occupancy |
|---|---|---|
| R0032092 | 2 | Grain Bin |
| ID | Type | NBHD | Occupancy | % Complete | Bedrooms | Baths |
|---|---|---|---|---|---|---|
| 2 | Out Building | NA | Grain Bin | 100 | 0 | 0.00 |
| ID | Exterior | Roof Cover | Interior | HVAC | Perimeter | Units | Unit Type | Make |
|---|---|---|---|---|---|---|---|---|
| 2 | NA | NA | NA | None | 0 | 0 | NA | NA |
| ID | Square Ft | Condo SF | Total Basement SF | Finished Basement SF | Garage SF | Carport SF | Balcony SF | Porch SF |
|---|---|---|---|---|---|---|---|---|
| 2 | 1 | 0 | 0 | 0 | 0 | 0 | 0 | 0 |
| ID | Built As | Square Ft | Year Built | Stories | Length | Width |
|---|---|---|---|---|---|---|
| 2.00 | Grain Bin | 1 | 1991 | 0 | 0 | 0 |
No Additional Details for Building 2
Building 3
| AccountNo | Building ID | Occupancy |
|---|---|---|
| R0032092 | 3 | Grain Handling System |
| ID | Type | NBHD | Occupancy | % Complete | Bedrooms | Baths |
|---|---|---|---|---|---|---|
| 3 | Out Building | NA | Grain Handling System | 100 | 0 | 0.00 |
| ID | Exterior | Roof Cover | Interior | HVAC | Perimeter | Units | Unit Type | Make |
|---|---|---|---|---|---|---|---|---|
| 3 | NA | NA | NA | None | 0 | 0 | NA | NA |
| ID | Square Ft | Condo SF | Total Basement SF | Finished Basement SF | Garage SF | Carport SF | Balcony SF | Porch SF |
|---|---|---|---|---|---|---|---|---|
| 3 | 1 | 0 | 0 | 0 | 0 | 0 | 0 | 0 |
| ID | Built As | Square Ft | Year Built | Stories | Length | Width |
|---|---|---|---|---|---|---|
| 3.00 | Grain Handling System | 1 | 1991 | 0 | 0 | 0 |
No Additional Details for Building 3
Building 4
| AccountNo | Building ID | Occupancy |
|---|---|---|
| R0032092 | 4 | Light Commercial Utility |
| ID | Type | NBHD | Occupancy | % Complete | Bedrooms | Baths |
|---|---|---|---|---|---|---|
| 4 | Commercial | 3907 | Light Commercial Utility | 100 | 0 | 0.00 |
| ID | Exterior | Roof Cover | Interior | HVAC | Perimeter | Units | Unit Type | Make |
|---|---|---|---|---|---|---|---|---|
| 4 | NA | NA | NA | None | 40 | 0 | NA | NA |
| ID | Square Ft | Condo SF | Total Basement SF | Finished Basement SF | Garage SF | Carport SF | Balcony SF | Porch SF |
|---|---|---|---|---|---|---|---|---|
| 4 | 96 | 0 | 0 | 0 | 0 | 0 | 0 | 0 |
| ID | Built As | Square Ft | Year Built | Stories | Length | Width |
|---|---|---|---|---|---|---|
| 4.00 | Light Commercial Utility | 96 | 1991 | 0 | 0 | 0 |
No Additional Details for Building 4
Building 5
| AccountNo | Building ID | Occupancy |
|---|---|---|
| R0032092 | 5 | Grain Hopper |
| ID | Type | NBHD | Occupancy | % Complete | Bedrooms | Baths |
|---|---|---|---|---|---|---|
| 5 | Out Building | NA | Grain Hopper | 100 | 0 | 0.00 |
| ID | Exterior | Roof Cover | Interior | HVAC | Perimeter | Units | Unit Type | Make |
|---|---|---|---|---|---|---|---|---|
| 5 | Metal | NA | NA | None | 0 | 0 | NA | NA |
| ID | Square Ft | Condo SF | Total Basement SF | Finished Basement SF | Garage SF | Carport SF | Balcony SF | Porch SF |
|---|---|---|---|---|---|---|---|---|
| 5 | 1 | 0 | 0 | 0 | 0 | 0 | 0 | 0 |
| ID | Built As | Square Ft | Year Built | Stories | Length | Width |
|---|---|---|---|---|---|---|
| 5.00 | Grain Hopper | 1 | 1991 | 0 | 0 | 0 |
No Additional Details for Building 5
| Account | Parcel | Account Type | Tax Year | Buildings | Actual Value | Local Govt Assessed Value | School Assessed Value |
|---|---|---|---|---|---|---|---|
| R0032092 | 106136000052 | Commercial | 2026 | 5 | 428,746 | 115,760 | 115,760 |
| Type | Code | Description | Actual Value | Local Govt Assessed Value | School Assessed Value | Acres | Land SqFt |
|---|---|---|---|---|---|---|---|
| Improvement | 2220 | OFFICES-IMPROVEMENTS | 38,756 | 10,460 | 10,460 | 0.000 | 0 |
| Improvement | 2235 | WAREHOUSE/STORAGE-IMPS | 10,710 | 2,890 | 2,890 | 0.000 | 0 |
| Land | 2135 | WAREHOUSE/STORAGE-LAND | 379,280 | 102,410 | 102,410 | 6.630 | 288,803 |
| Totals | - | - | 428,746 | 115,760 | 115,760 | 6.630 | 288,803 |
Comparable sales for your Residential or Commercial property may be found using our SALES SEARCH TOOL
Values are updated annually on May 1st for Real Property and June 15th for Personal Property and Oil and Gas.
| Account | Parcel | Account Type | Tax Year | Buildings | Actual Value | Local Govt Assessed Value | School Assessed Value |
|---|---|---|---|---|---|---|---|
| R0032092 | 106136000052 | Commercial | 2026 | 5 | 428,746 | 115,760 | 115,760 |
| Tax Area | District ID | District Name | Local Govt Mill Levy |
School Mill Levy |
Estimated Taxes |
|---|---|---|---|---|---|
| 2380 | 1050 | HIGH PLAINS LIBRARY | 3.044 | 0.000 | $352.37 |
| 2380 | 1206 | LARIMER CONSERVATION DISTRICT | 0.000 | 0.000 | $0.00 |
| 2380 | 0306 | LITTLE THOMPSON WATER (LTW) | 0.000 | 0.000 | $0.00 |
| 2380 | 0512 | MOUNTAIN VIEW FIRE PROTECTION DISTRICT | 16.342 | 0.000 | $1,891.75 |
| 2380 | 0301 | NORTHERN COLORADO WATER (NCW) | 1.000 | 0.000 | $115.76 |
| 2380 | 0213 | SCHOOL DIST RE1J-LONGMONT | 0.000 | 57.717 | $6,681.32 |
| 2380 | 0303 | ST VRAIN LEFT HAND WATER (SVW) | 1.406 | 0.000 | $162.76 |
| 2380 | 0100 | WELD COUNTY | 15.956 | 0.000 | $1,847.07 |
| Total | - | - | 37.748 | 57.717 | $11,051.03 |
The estimate of tax is based on the prior year mill levy and the 2025 projected assessment rates. Mill levies and tax estimates will be updated yearly on December 22nd for the current year. Additional information can be found at https://assessor.weld.gov




