Account: R5420286

April 1, 2026

Account Parcel Account Type Tax Year Buildings Actual Value Local Govt Assessed Value School Assessed Value
R5420286 131123000009 Agricultural 2026 4 990,849 66,770 74,520

Legal
20382 SW4 23 2 67 EXC E150' EXC UPRR RES

Subdivision Block Lot Land Economic Area
FORT LUPTON RURAL

Property Address Property City Section Township Range
8310 COUNTY ROAD 21 WELD 23 02 67




Account Parcel Account Type Tax Year Buildings Actual Value Local Govt Assessed Value School Assessed Value
R5420286 131123000009 Agricultural 2026 4 990,849 66,770 74,520

Account Owner Name Address
R5420286 ANADARKO E&P COMPANY LP ATTN: STEVE FISHER LAND SURFACE ROCKIES 1099 18TH ST DENVER, CO 802021908


Account Parcel Account Type Tax Year Buildings Actual Value Local Govt Assessed Value School Assessed Value
R5420286 131123000009 Agricultural 2026 4 990,849 66,770 74,520

Reception Rec Date Type Grantor Grantee Doc Fee Sale Date Sale Price
06-19-1970 USR USE BY SPECIAL REVIEW SUP-62 TURKEY FARM - 0.00 NA 0
3783408 08-01-2011 SWD STREAR FARMS COMPANY BB COLORADO HOLDINGS LLC 612.67 07-29-2011 6,126,700
3807423 11-22-2011 SWD BB COLORADO HOLDINGS LLC ANADARKO E&P COMPANY LP 131.00 11-16-2011 1,310,000
5029354 05-14-2025 USR USR17 0046 USR17 0046 0.00 04-08-2025 0



Account Parcel Account Type Tax Year Buildings Actual Value Local Govt Assessed Value School Assessed Value
R5420286 131123000009 Agricultural 2026 4 990,849 66,770 74,520

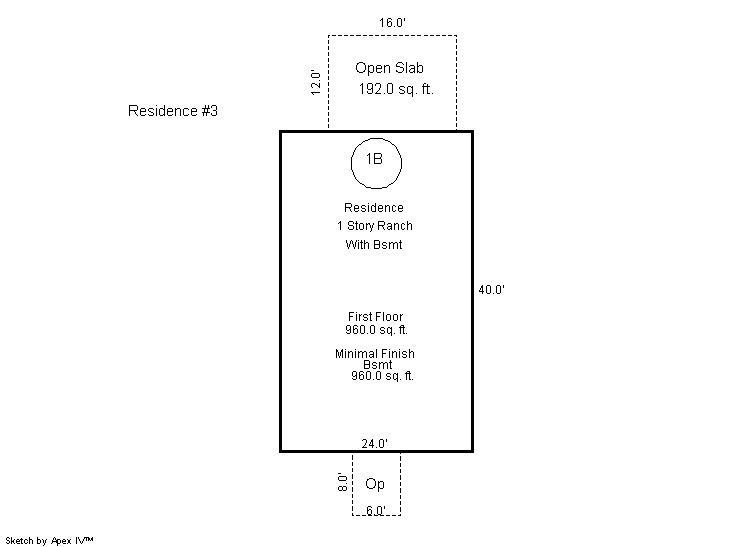
Building 1

AccountNo Building ID Occupancy
R5420286 1 Secondary Single Family Res on Ag


ID Type NBHD Occupancy % Complete Bedrooms Baths
1 Residential 4R0009 Secondary Single Family Res on Ag 100 3 2.00


ID Exterior Roof Cover Interior HVAC Perimeter Units Unit Type Make
1 Frame Masonry Veneer Composition Shingle Drywall Forced Air NA 0 NA NA


ID Square Ft Condo SF Total Basement SF Finished Basement SF Garage SF Carport SF Balcony SF Porch SF
1 1,200 0 0 0 300 0 0 32


Built As Details for Building 1
ID Built As Square Ft Year Built Stories Length Width
1.00 Ranch 1 Story 1,200 1969 1 0 0


Additional Details for Building 1
ID Detail Type Description Units
1 Fixture Full Bath 2.00
1 Garage Attached 300.00
1 Porch Open Slab 32.00



Building 2

AccountNo Building ID Occupancy
R5420286 2 Single Family Residential on Ag


ID Type NBHD Occupancy % Complete Bedrooms Baths
2 Residential 4R0009 Single Family Residential on Ag 100 3 2.00


ID Exterior Roof Cover Interior HVAC Perimeter Units Unit Type Make
2 Frame Masonry Veneer Composition Shingle Drywall Forced Air NA 0 NA NA


ID Square Ft Condo SF Total Basement SF Finished Basement SF Garage SF Carport SF Balcony SF Porch SF
2 1,560 0 0 0 0 0 0 32


Built As Details for Building 2
ID Built As Square Ft Year Built Stories Length Width
2.00 Ranch 1 Story 1,560 1970 1 0 0


Additional Details for Building 2
ID Detail Type Description Units
2 Fixture Full Bath 1.00
2 Fixture Half Bath 1.00
2 Porch Open Slab 32.00



Building 3

AccountNo Building ID Occupancy
R5420286 3 Secondary Single Family Res on Ag


ID Type NBHD Occupancy % Complete Bedrooms Baths
3 Residential 4R0009 Secondary Single Family Res on Ag 100 3 2.00


ID Exterior Roof Cover Interior HVAC Perimeter Units Unit Type Make
3 Frame Hardboard Composition Shingle Drywall Hot Water Baseboard NA 0 NA NA


ID Square Ft Condo SF Total Basement SF Finished Basement SF Garage SF Carport SF Balcony SF Porch SF
3 960 0 960 960 0 0 0 48


Built As Details for Building 3
ID Built As Square Ft Year Built Stories Length Width
3.00 Ranch 1 Story 960 1920 1 0 0


Additional Details for Building 3
ID Detail Type Description Units
3 Basement Finished 960.00
3 Basement Total Basement SF 960.00
3 Fixture Full Bath 2.00
3 Porch Open Slab 240.00
3 Porch Wood Roof 48.00



Building 4

AccountNo Building ID Occupancy
R5420286 4 Utility Building


ID Type NBHD Occupancy % Complete Bedrooms Baths
4 Out Building NA Utility Building 100 0 0.00


ID Exterior Roof Cover Interior HVAC Perimeter Units Unit Type Make
4 NA NA NA Space Heater 236 0 NA NA


ID Square Ft Condo SF Total Basement SF Finished Basement SF Garage SF Carport SF Balcony SF Porch SF
4 2,520 0 0 0 0 0 0 0


Built As Details for Building 4
ID Built As Square Ft Year Built Stories Length Width
4.00 Utility Building 2,520 1970 1 90 28


Additional Details for Building 4
ID Detail Type Description Units
4 Add On Heat Forced Air, Gas or Electric 840.00





Account Parcel Account Type Tax Year Buildings Actual Value Local Govt Assessed Value School Assessed Value
R5420286 131123000009 Agricultural 2026 4 990,849 66,770 74,520

Type Code Description Actual Value Local Govt Assessed Value School Assessed Value Acres Land SqFt
Improvement 1277 PROPERTY NOT INTEGRAL TO AG - IMPROVEMENTS 875,108 54,690 61,700 0.000 0
Improvement 4279 FARM RANCH SUPPORT BLDGS 18,713 5,050 5,050 0.000 0
Land 1177 PROPERTY NOT INTEGRAL TO AG - LAND 92,355 5,770 6,510 0.500 21,780
Land 4147 GRAZING LAND-AGRICULTURAL 4,647 1,250 1,250 140.820 6,134,119
Land 4167 WASTE LAND 26 10 10 9.500 413,820
Totals - - 990,849 66,770 74,520 150.820 6,569,719


Account Parcel Account Type Tax Year Buildings Actual Value Local Govt Assessed Value School Assessed Value
R5420286 131123000009 Agricultural 2026 4 990,849 66,770 74,520

Tax Area District ID District Name Local Govt
Mill Levy
School
Mill Levy
Estimated
Taxes
2234 0700 AIMS JUNIOR COLLEGE 6.313 0.000 $421.52
2234 0305 CENTRAL WELD COUNTY WATER (CWC) 0.000 0.000 $0.00
2234 0506 FORT LUPTON FIRE 9.357 0.000 $624.77
2234 1050 HIGH PLAINS LIBRARY 3.044 0.000 $203.25
2234 0301 NORTHERN COLORADO WATER (NCW) 1.000 0.000 $66.77
2234 1201 PLATTE VALLEY CONSERVATION 0.000 0.000 $0.00
2234 0208 SCHOOL DIST RE8-FORT LUPTON AND DACONO 0.000 18.198 $1,356.11
2234 0100 WELD COUNTY 15.956 0.000 $1,065.38
Total - - 35.67 18.198 $3,737.80


The estimate of tax is based on the prior year mill levy and the 2025 projected assessment rates. Mill levies and tax estimates will be updated yearly on December 22nd for the current year. Additional information can be found at https://assessor.weld.gov










Select Reports to Print: