Account: R5890786
April 4, 2026
| Account | Parcel | Account Type | Tax Year | Buildings | Actual Value | Local Govt Assessed Value | School Assessed Value |
|---|---|---|---|---|---|---|---|
| R5890786 | 146906104042 | Residential | 2026 | 1 | 314,900 | 19,680 | 22,200 |
| Legal |
|---|
| DAC 1GL-99 L99 GLENS OF DACONO UNIT 1 |
| Subdivision | Block | Lot | Land Economic Area |
|---|---|---|---|
| GLENS OF DACONO UNIT #1 | 99 | GLEN OF DACONO |
| Property Address | Property City | Section | Township | Range |
|---|---|---|---|---|
| 904 GLEN DALE ST | DACONO | 06 | 01 | 67 |
| Account | Parcel | Account Type | Tax Year | Buildings | Actual Value | Local Govt Assessed Value | School Assessed Value |
|---|---|---|---|---|---|---|---|
| R5890786 | 146906104042 | Residential | 2026 | 1 | 314,900 | 19,680 | 22,200 |
| Account | Owner Name | Address |
|---|---|---|
| R5890786 | BACA BRANDON P | 904 GLEN DALE ST DACONO, CO 805149515 |
| R5890786 | GARCIA CATHY A |
| Account | Parcel | Account Type | Tax Year | Buildings | Actual Value | Local Govt Assessed Value | School Assessed Value |
|---|---|---|---|---|---|---|---|
| R5890786 | 146906104042 | Residential | 2026 | 1 | 314,900 | 19,680 | 22,200 |
| Reception | Rec Date | Type | Grantor | Grantee | Doc Fee | Sale Date | Sale Price |
|---|---|---|---|---|---|---|---|
| 01944073 | 10-19-1983 | WDN | 0.00 | 01-01-1900 | 0 | ||
| 1536122 | NA | SUB | SUBDIVISION | GLENS OF DACONO #1 | 0.00 | NA | 0 |
| 2813165 | 12-13-2000 | WD | COOPER MARVIN A & MARY ANN | STAFFORD JUNE I | 5.00 | 12-11-2000 | 50,000 |
| 3921837 | 04-03-2013 | PTD | STAFFORD JUNE I | JO ENTERPRISES LLLP | 0.00 | 04-02-2013 | 0 |
| 4818594 | 04-13-2022 | SWD | JO ENTERPRISES LLLP | BACA BRANDON P; GARCIA CATHY A | 35.50 | 03-16-2022 | 355,000 |
| 4822393 | 04-28-2022 | MHN | JO ENTERPRISES LLLP | JO ENTERPRISES LLLP | 0.00 | 01-07-2022 | 0 |
| X0013386 | 10-19-1983 | CON | COOPER MARVIN A & MARY ANN | 2.40 | 10-19-1983 | 24,000 |
*If the hyperlink for the reception number does not work, try a manual search in the Clerk and Recorder records. Use the Grantor or Grantee in your search.
| Account | Parcel | Account Type | Tax Year | Buildings | Actual Value | Local Govt Assessed Value | School Assessed Value |
|---|---|---|---|---|---|---|---|
| R5890786 | 146906104042 | Residential | 2026 | 1 | 314,900 | 19,680 | 22,200 |
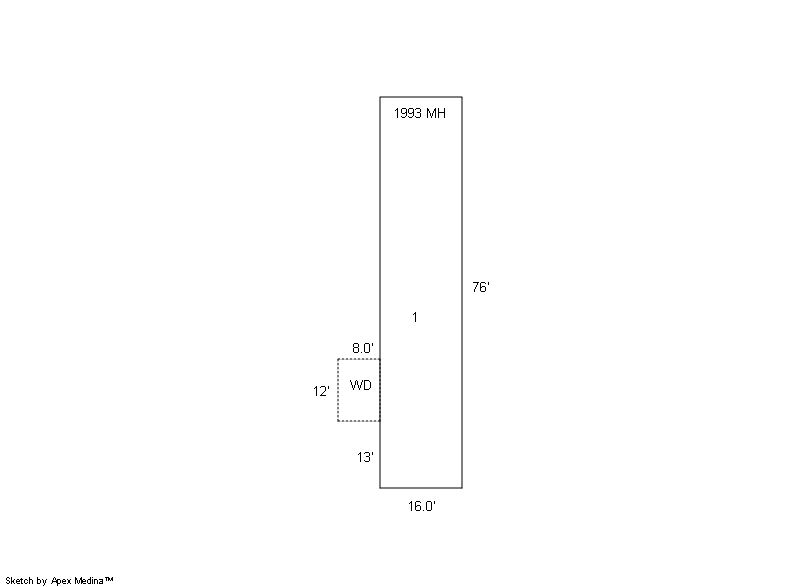
Building 1
| AccountNo | Building ID | Occupancy |
|---|---|---|
| R5890786 | 1 | Single Family Residential |
| ID | Type | NBHD | Occupancy | % Complete | Bedrooms | Baths |
|---|---|---|---|---|---|---|
| 1 | Manufactured Hm | 3D0002 | Single Family Residential | 100 | 3 | 2.00 |
| ID | Exterior | Roof Cover | Interior | HVAC | Perimeter | Units | Unit Type | Make |
|---|---|---|---|---|---|---|---|---|
| 1 | Hardboard Sheet | Shingle Comp | Drywall | Forced Air | 0 | 0 | NA | Schult |
| ID | Square Ft | Condo SF | Total Basement SF | Finished Basement SF | Garage SF | Carport SF | Balcony SF | Porch SF |
|---|---|---|---|---|---|---|---|---|
| 1 | 1,216 | 0 | 0 | 0 | 0 | 0 | 0 | 96 |
| ID | Built As | Square Ft | Year Built | Stories | Length | Width |
|---|---|---|---|---|---|---|
| 1.00 | Mnfctrd Home 1 Story | 1,216 | 1993 | 1 | 76 | 16 |
| ID | Detail Type | Description | Units |
|---|---|---|---|
| 1 | Fixture | Full Bath | 2.00 |
| 1 | Porch | Wood Deck | 96.00 |
| Account | Parcel | Account Type | Tax Year | Buildings | Actual Value | Local Govt Assessed Value | School Assessed Value |
|---|---|---|---|---|---|---|---|
| R5890786 | 146906104042 | Residential | 2026 | 1 | 314,900 | 19,680 | 22,200 |
| Type | Code | Description | Actual Value | Local Govt Assessed Value | School Assessed Value | Acres | Land SqFt |
|---|---|---|---|---|---|---|---|
| Improvement | 1212 | SINGLE FAMILY RESIDENTIAL IMPROVEMENTS | 214,900 | 13,430 | 15,150 | 0.000 | 0 |
| Land | 1112 | SINGLE FAMILY RESIDENTIAL-LAND | 100,000 | 6,250 | 7,050 | 0.122 | 5,321 |
| Totals | - | - | 314,900 | 19,680 | 22,200 | 0.122 | 5,321 |
Comparable sales for your Residential or Commercial property may be found using our SALES SEARCH TOOL
Values are updated annually on May 1st for Real Property and June 15th for Personal Property and Oil and Gas.
| Account | Parcel | Account Type | Tax Year | Buildings | Actual Value | Local Govt Assessed Value | School Assessed Value |
|---|---|---|---|---|---|---|---|
| R5890786 | 146906104042 | Residential | 2026 | 1 | 314,900 | 19,680 | 22,200 |
| Tax Area | District ID | District Name | Local Govt Mill Levy |
School Mill Levy |
Estimated Taxes |
|---|---|---|---|---|---|
| 2954 | 0900 | CARBON VALLEY REC | 4.427 | 0.000 | $87.12 |
| 2954 | 0402 | DACONO TOWN | 22.491 | 0.000 | $442.62 |
| 2954 | 0512 | MOUNTAIN VIEW FIRE PROTECTION DISTRICT | 16.342 | 0.000 | $321.61 |
| 2954 | 0301 | NORTHERN COLORADO WATER (NCW) | 1.000 | 0.000 | $19.68 |
| 2954 | 0213 | SCHOOL DIST RE1J-LONGMONT | 0.000 | 57.717 | $1,281.32 |
| 2954 | 0620 | ST VRAIN SANITATION | 0.316 | 0.000 | $6.22 |
| 2954 | 0100 | WELD COUNTY | 15.956 | 0.000 | $314.01 |
| Total | - | - | 60.532 | 57.717 | $2,472.59 |
The estimate of tax is based on the prior year mill levy and the 2025 projected assessment rates. Mill levies and tax estimates will be updated yearly on December 22nd for the current year. Additional information can be found at https://assessor.weld.gov



